風速風向計 NZ100SX
發布時間:2016-6-10 17:42:16

NZ100SX風速風向計由風速傳感器和風向傳感器組成,主要用于測量大氣風速與風向。該風速風向儀風杯采用碳纖維材,強度高,起動好。風向重錘采用附翼板,提高了動態特性。風傳感器互換性好、量程大、線性好、抗雷擊能力強、工作可靠。該傳感器用于氣象、海洋、環境、機場、港口、工農業計交通等領域。
顯示表頭圖片:

NZ100SX風速風向儀主要技術指標:
項目 | 風速傳感器 | 風向傳感器 |
測量范圍 | 0~70m/s | 0~360 |
精 度 | ±(0.3±0.03V)m/s | 0.1%(線性度) |
最大回轉半徑 | 90mm | 200mm |
分 辨 率 | 0.1 m/s | |
起動風速 | ≤0.5 m/s | ≤0.8 m/s |
重 量 | ≤0.5kg | ≤0.5kg |
工作環境 |
溫度-60℃~50℃ 濕度≤100%RH |
溫度-60℃~50℃ 濕度≤100%RH |
輸 入 | 5V、12V、24V 可選 | 5V、12V、24V 可選 |
輸 出 |
5V方波、4~20mA 可選 0~1000HZ 測量方法:頻率計數 |
0~5V、4~20mA 可選 |
訂貨時請注明電參數要求 |
NZ100SX風速風向儀工作原理:
風速傳感器的感應元件是三杯風組件,由三個碳纖維風杯和杯架組成。轉換器為多齒轉杯和狹縫光耦。當風杯受水平風力作用而旋轉時,通過活軸轉杯在狹縫光耦中的轉動,輸出頻率的信號。
風向傳感器的變換器為碼盤和光電組件。當風標隨風向變化而轉動時,通過軸帶動碼盤在光電組件縫隙中轉動。產生的光電信號對應當時風向的格雷碼輸出。
傳感器的變換器采用精密導電塑料電位器,從而在電位器的活動端產生變化的電阻信號輸出。
![]() |
![]() |
風速傳感器 |
風向傳感器 |
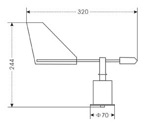
NZ100SX風速風向儀結構尺寸圖:


NZ100SX風速風向儀安裝使用方法:
(1)風速和風向傳感器應垂直的安裝在相距1米以上的橫臂上。
(2)傳感器殼體下部直徑為Φ40,120o均勻分有三個M5的螺紋為安裝部位。
(3)風向傳感器在安裝風標時,應先將風標桿穿過風向傳感器頭部的風向帽,裝上平衡錘在風向帽帶標志點一側。放平傳感器并竄動風標桿時平衡錘與風標處于平衡位置。直立后調整風標與地面垂直時,擰緊固定風向桿的風向帽上的制動螺釘即可。
(4)風向傳感器上殼有一個定北標志點,安裝時應將其對準北方。
(5)風向傳感器已調好零,不許隨意松動風向帽與主軸間的制動螺釘。
(6)測風傳感器應每年給軸承注油一次,注油時應拆下風速架或風向帽,將儀表油從傳感器的上軸承處注入。
(7)傳感器風速、風向帽上各不動的制動螺釘均用軟質密封膠密封,不要隨便拆卸,拆卸后再裝配時最好重新涂上膠密封。
(8)傳感器電線插頭按下圖接線:
![]() |
|
電阻信號輸出 | 頻率輸出 |